您现在的位置:首页 > 产品中心 > 产品中心
产品中心
| 型号名称 | 产品描述 | 下载 | 购买 |
![]() |
集成封装压力传感器
Pressure Sensor IC With ASIC
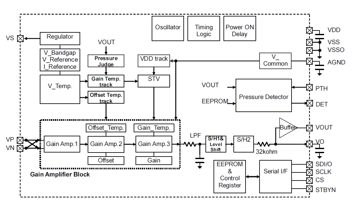
混合封装压力传感器芯片是将硅压力传感器与信号处理电路封装成一个整芯片形式的压力芯片。具有外形小、高可靠性、高精度等特点。芯片经过线性校验、温度补偿后的模拟信号输出跟供电电压成比例,与输入压力成一次函数关系。 |
||
![]() |
压力传感器模块/变送板/变送模块MEMS Pressure Sensor Modules XMP00系列产品采用MEMS压阻式压力传感器或陶瓷压力芯体作为敏感元件并集成了数字调理电路芯片,可对传感器的偏移、灵敏度、温漂和非线性进行数字补偿 |
||
![]() |
传感器信号调理芯片Signal Conditioning Circuit IC 可进行高精度放大和14-bit精度的模数转换,集成了内置的温度传感器、DSP和OTP单元,可对传感器进行数字补偿,包括对信号的偏移、灵敏度、温度漂移和非线性进行补偿。 |
||
![]() |
更多仪器仪表、设备、配件:电磁阀综合测试仪,通信GSM-R干扰测试仪,示波器,气体测试仪,振动测试仪,无损检测测试仪.(专供给上海大学,上海交大,上海微系统所,技物所等)资料下载地址http://pan.baidu.com/s/1kTMbYcR |
||
![]() |
压力传感器 Pressure Sensors—— 本公司国际贸易部代理Freescale Metrodyne(全磊) GE NOVA Intersema Consensic Fujikura Freescale Honeywell SEKUO等国际知名品牌压力传感器 |
||
| [共11页] [第11页] [10条/页] [共105条] [首页][上一页] [下一页] [末页] | |||







